PEÇAS PARA MOTORES HONDA GXR120 KRWN. Motores aplicados em compactadores de solo importados da Europa pelos fabricantes WACKER, ATLAS E HUSQVARNA.
LINHA COMPLETA DE PEÇAS PARA COMPACTADORES E MOTORES - ENTREGAMOS EM TODO O BRASIL.
047 997661600
CONJUNTO PARTIDA RETRATIL GXR120 HONDA

001 28400-ZDJ-003ZB STARTER ASSY., RECOIL *NH1* 1
001 28400-ZDJ-305ZA STARTER ASSY., RECOIL (COO) (FOR U.S.A.) 1
002 28405-ZDJ-000 SPACER, RECOIL STARTER MOUNTING 1
003 28410-ZDJ-003ZB CASE COMP., RECOIL STARTER *NH1* 1
004 28421-ZDD-003 REEL, RECOIL STARTER (BLACK) 1
005 28422-ZG0-W02 RATCHET, STARTER 2
006 28433-ZG0-W02 GUIDE, RATCHET 1
007 28441-ZW6-003 SPRING, FRICTION 1
008 28442-ZH8-003 SPRING, RECOIL STARTER 1
009 28461-ZDD-003 KNOB, RECOIL STARTER 1
010 28462-Z0D-V03 ROPE, RECOIL STARTER 1
011 28467-Z0D-V02 PLATE, SIDE 1
012 28468-Z0D-V02 PLATE, SLIDE 1
013 90003-ZH8-003 SCREW, SETTING 1
014 95701-0601400 BOLT, FLANGE, 6X14 3
SISTEMA CARENAGEM, TAMPA DA VENTOINHA HONDA GXR120

001 19610-Z4E-S11ZA COVER COMP., FAN *NH1 * 1
003 81329-567-020 GROMMET, DRAIN HOLE 1
004 90014-952-000 BOLT, FLANGE, 6X14 (CT200) 4
SISTEMA CARBURADOR DIAFRAGMA COM BULBO GXR120 KRWN

001 16010-ZDD-R02 GASKET, METERING DIAPHRAGM 1
002 16011-Z0D-V02 GASKET, PUMP 1
003 16013-ZDD-R02 DIAPHRAGM ASSY., METERING 1
004 16014-Z0D-V02 DIAPHRAGM, PUMP 1
006 16018-ZM3-004 SCREEN, INLET 1
007 16019-ZM3-004 VALVE, INLET NEEDLE 1
008 16022-ZM3-014 PIN, METERING LEVER 1
009 16023-Z0D-V02 LEVER, METERING 1
010 16026-Z4E-S32 COVER, PRIMER PUMP 1
011 16030-ZM3-004 SPRING, PUMP 1
012 16032-Z4E-S32 PUMP, PRIMER 1
013 16040-Z4E-802 COVER, PUMP 1
014 16041-Z0D-V02 SCREW 1
015 16042-Z0D-V02 SPRING 1
017 16044-Z4E-802 SCREW 1
018 16045-Z0D-V02 STOPPER, THROTTLE LEVER 1
019 16046-Z0D-V73 LEVER, THROTTLE 1
020 16048-Z0D-V02 SPACER, THROTTLE LEVER 1
021 16049-Z4E-S12 SCREW, IDLE ADJUSTING 1
022 16050-Z0D-V02 SPRING 1
023 16051-Z4E-S44 VALVE, THROTTLE 1
024 16052-Z0D-V02 SHAFT, THROTTLE 1
025 16053-Z0D-V02 CLIP, THROTTLE SHAFT 1
026 16054-Z0D-V02 SCREW, VALVE 2
027 16055-Z0D-V02 SCREW ASSY. 1
029 16055-Z4E-S32 SCREW ASSY. 4
030 16056-Z0D-V02 SPRING 1
031 16057-Z0D-V02 BALL 1
032 16058-Z0D-V02 SHAFT ASSY., CHOKE 1
033 16059-Z0D-V03 VALVE, CHOKE 1
034 16060-Z0D-V02 SCREW 1
035 16061-Z0D-V02 SEAL, DUST 2
036 16100-ZDJ-V72 CARBURETOR ASSY. (HDA-329) 1
037 16211-ZDJ-000 INSULATOR, CARBURETOR 1
038 16212-Z0D-V00 PACKING, INSULATOR 1
039 16221-Z0D-V00 PACKING, CARBURETOR 1
040 16552-896-650 COLLAR, LEVER 1
048 99101-Z0D0460 JET (#46) (1)
048 99101-Z0D0480 JET (#48) (1)
048 99101-Z0D0500 JET (#50) 1
049 16017-ZDD-R02 BODY ASSY., AIR PURGE 1
CONJUNTO FILTRO DE AR GXR120 KRWN

005 17228-Z0D-V01 PACKING, AIR CLEANER 1
009 17410-Z4E-S31 ELBOW, AIR CLEANER 1
014 90042-ZDJ-810 BOLT, STUD, 5X95 2
015 94050-05000 NUT, FLANGE, 5MM 2
CONJUNTO ESCAPE SILENCIOSO GXR120

001 18310-ZDJ-000 MUFFLER COMP. (RAMMER) 1
002 18320-ZDJ-000 PROTECTOR COMP., MUFFLER (RAMMER) 1
003 18381-Z0D-000 GASKET, MUFFLER 1
004 90014-952-000 BOLT, FLANGE, 6X14 (CT200) 3
005 90048-ZDJ-000 BOLT, STUD, 6X56.5 2
006 90343-ZE6-000 NUT, SELF-LOCK, 6MM 2
CONJUNTO VOLANTE E BOBINA GXR120 KRWN

001 13331-357-000 KEY, SPECIAL WOODRUFF, 25X18 1
001 13331-Z8B-900 KEY, SPECIAL WOODRUFF, 25X18 1
002 28451-ZDJ-003 PULLEY, STARTER 1
003 30500-Z0D-V02 COIL ASSY., IGNITION 1
004 30564-ZA5-000 GROMMET, CORD 1
005 30700-Z0D-V01 TERMINAL ASSY., HIGH TENSION 1
007 31110-ZDJ-003 FLYWHEEL COMP. 1
009 90022-888-010 BOLT, FLANGE, 6X20 (CT200) 2
010 90201-Z0T-800 NUT, SPECIAL, 14MM 1
CONJUNTO SENSOR NÍVEL DE ÓLEO GXR120 HONDA

001 32112-Z4E-S11 BRACKET, OIL ALERT UNIT 1
002 32195-Z4E-S10 CORD, STOP SWITCH 1
003 34150-Z4E-801 ALERT UNIT, OIL (START LED) 1
004 35480-Z4E-S11 SWITCH ASSY., OIL LEVEL 1
005 36103-ZE1-000 HOLDER, STOP SWITCH CORD 1
006 90002-MC7-000 BOLT, FLANGE, 5X8 2
007 90014-952-000 BOLT, FLANGE, 6X14 (CT200) 4
008 90681-959-003 CLIP A, CABLE (NIFCO) (3.8MM BLACK) 2
009 90682-959-661 CLIP B, CABLE (9MM BLACK) 1
010 90683-SA0-003 CLIP, WIRE HARNESS, 25MM 1
011 91302-ZL8-003 O-RING, 11.8X2.4 1
012 91540-S30-003 CLIP, HARNESS BAND (NATURAL) (151.5MM) 1
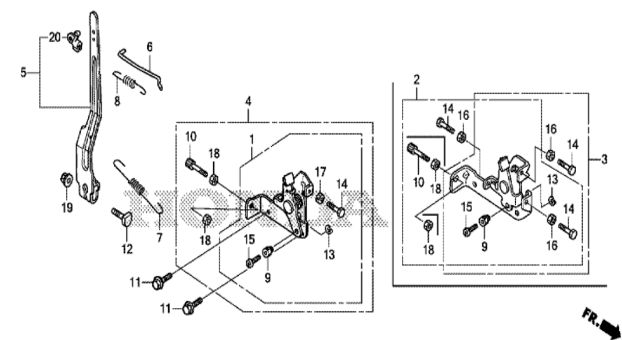
CONJUNTO CONTROLE DE ACELERAÇÃO GXR120 HONDA

003 16500-Z4E-S30 CONTROL ASSY. 1
005 16550-Z0D-V01 ARM COMP., GOVERNOR 1
006 16555-Z0D-V00 ROD, GOVERNOR 1
007 16561-ZDJ-000 SPRING, GOVERNOR 1
008 16562-ZDJ-000 SPRING, THROTTLE RETURN 1
009 16594-883-010 HOLDER, WIRE 1
011 90014-952-000 BOLT, FLANGE, 6X14 (CT200) 2
012 90015-Z5T-000 BOLT, GOVERNOR ARM 1
013 90605-230-000 CIRCLIP, 5MM 1
014 92301-050200A BOLT, RECESSED, 5X20 2
015 93500-040060H SCREW, PAN, 4X6 1
016 94001-05000 NUT, HEX., 5MM 2
019 94050-06000 NUT, FLANGE, 6MM 1
020 16263-883-W10 JOINT, ROD 1
CONJUNTO BLOCO, CILINDRO DO PISTÃO GXR120 HONDA

12000-ZDJ-305 BARREL ASSY., CYLINDER 1
004 12311-Z0D-000 COVER, HEAD 1
005 12355-Z0D-000 COVER COMP. A, BREATHER 1
007 15171-Z0D-V00 PIPE, BREATHER 1
008 15571-Z0D-V71 VALVE, OIL OUTLET 1
009 15572-ZM7-000 PLATE, STOPPER 1
011 15721-ZDD-R00 TUBE, BREATHER 1
012 90008-ZM7-000 BOLT, 4X10 1
013 90014-952-000 BOLT, FLANGE, 6X14 (CT200) 6
014 91202-ZE6-013 OIL SEAL, 22X35X6 1
015 93500-030050A SCREW, PAN, 3X5 1
016 98056-55757 PLUG, SPARK (U16FSR-UB) 1
016 98056-55777 PLUG, SPARK (CR5HSB) 1
017 12365-ZDD-R00 COVER COMP. B, BREATHER 1
CONJUNTO TAMPA DO BLOCO GXR120 HONDA

001 11300-ZDJ-306 COVER ASSY., CRANKCASE 1
001 11300-ZDJ-316 COVER ASSY., CRANKCASE 1
004 15600-Z3F-000 CAP ASSY., OIL FILLER 1
005 15625-Z0T-800 PACKING, OIL FILLER CAP 1
006 16510-ZL8-000 GOVERNOR ASSY. 1
007 16531-ZE1-000 SLIDER, GOVERNOR 1
008 16541-Z0D-000 SHAFT, GOVERNOR ARM 1
009 90121-952-000 BOLT, FLANGE, 6X25 (CT200) 8
010 90131-ZE1-000 BOLT, DRAIN PLUG 1
011 90451-ZE1-000 WASHER, THRUST, 6MM 1
012 90601-ZE1-000 WASHER, DRAIN PLUG, 10.2MM 1
013 90602-ZE1-000 CLIP, GOVERNOR HOLDER 1
014 91001-878-003 BEARING, RADIAL BALL, 1
015 91203-ZE0-013 OIL SEAL, 22X41X6 1
016 91231-891-003 OIL SEAL, 6X11X4 (ARAI) 1
017 94101-06800 WASHER, PLAIN, 6MM 2
018 94251-08000 PIN, LOCK, 8MM 1
019 94301-08200 DOWEL PIN, 8X20 2
EIXO MANIVELA, EIXO VIRABREQUIM GXR120 KRWN HONDA

003 91005-KS4-003 BEARING, RADIAL BALL, 62/22 1
004 13310-ZDJ-V70 CRANKSHAFT COMP. 1
CONJUNTO PISTÃO, ANÉIS E BIELA GXR120 HONDA
.png)
001 13010-ZDJ-003 RING SET, PISTON (STD.) (NIPPON) 1
001 13010-ZDJ-D01 RING SET, PISTON (STD.) (NIPPON) 1
002 13101-ZDJ-800 PISTON 1
002 13101-ZDJ-D00 PISTON 1
003 13111-ZE0-000 PIN, PISTON 1
004 13200-ZDJ-000 ROD ASSY., CONNECTING 1
005 90001-ZDJ-000 BOLT, CONNECTING ROD, 6X32 2
006 90551-ZE0-000 CLIP, PISTON PIN, 13MM 2
CONJUNTO COMANDO DE VÁLVULAS GXR120 HONDA

001 12209-KT7-013 SEAL, VALVE STEM 1
002 14320-ZDD-000 PULLEY COMP., CAMSHAFT 1
003 14324-Z0D-000 SHAFT, CAM PULLEY 1
004 14400-Z0D-003 BELT, TIMING (61YU7 G-200) 1
005 14431-ZDD-000 ARM, IN. VALVE ROCKER 1
006 14441-ZDD-000 ARM, EX. VALVE ROCKER 1
007 14461-ZL8-000 SHAFT, ROCKER ARM 2
008 14711-Z0D-000 VALVE, IN. 1
009 14721-Z0D-000 VALVE, EX. 1
010 14751-Z0D-000 SPRING, VALVE 2
011 14771-ZDF-000 RETAINER, VALVE SPRING 2
011 14771-ZM3-010 RETAINER, VALVE SPRING 2
012 90012-333-000 SCREW, TAPPET ADJUSTING 2
013 90206-001-000 NUT, TAPPET ADJUSTING 2
014 91301-ZM0-V31 O-RING, 6.8X1.9 (ARAI) 1
Autor(a): AFORNECEDORA
A LOJA_AFORNECEDORA é uma empresa que atua desde 2016 no segmento da construção civil, agronegócio, kart e náutica disponibilizando máquinas, motores e peças para equipamentos. Nosso diferencial, além de oferecer linhas de produtos de grande qualidade, é o atendimento técnico especializado e experiente, buscando oferecer soluções eficazes aos nossos clientes. Atendemos você com:
- Peças técnicas para compactadores de solo, placas vibratórias, cortadores de asfalto e acabadoras de piso.
- Linha completa de peças e produtos de força HONDA.
DISTRIBUIDOR: HONDA MOTORES & MÁQUINAS, HUSQVARNA, BRANCO MOTORES, BUFFALO, TOYAMA, CSM, MOTOMIL, GARTHEN, LYNUS E BRUDDEN.
047 997661600
comercial@lojaafornecedora.com.br
Confira também:
Bobinas de corda para partida de motores - AFORNECEDORA
BOMBA SUBMERSÍVEL DE MANGOTE - OPERAÇÃO, MANUTENÇÃO E SEGURANÇA
BRANCO MOTORES! A força que o Brasil precisa!
Carburador Diafragma Honda GXR120 e GX100 com bulbo injetor
Carretel Universal Automático Roçadeiras Multimarcas